|
有限長弾性円筒による散乱音場の検討
|
|
||
|
1.はじめに 海洋観測や海底探査で用いられる音源として,安定に大パワーを発生でき送信情報をコントロールできる油圧制御式低周波音源の期待が高まっている。しかし該音源は,こうした利点に反し実際海洋や海底に敷設あるいは曳航体などに装備して牽引するとなると非常に大掛かりなものとなる。それは音源自体が大パワーを発生するため必然的に大きくなるのに加え,静水圧の大きい深々 |
|
||
|
|
度で運用されるので送波振動板前後の均圧補償装置が必要となるためである。均圧補償装置には圧縮ガスを封入した容器が使われる。この容器が結構大きい。また油圧コントロール用油貯め容器などの装置も必要となる。これらを補償用流体容器と呼ぶ(図1に補償用流体容器を示す)。このようにして装備が大掛かりになるのでコスト的な改善が望まれる。大掛かりになるのは,避けられないとして,ただここで一番重要になってくるのが音響性能である。補償用流体容器が遠距離に置かれたとき音源性能に問題は無い。ところが,補償容器を実装上できるだけコンパクトにするため音源単体付近におくと,この補償容器から音波反射が発生する。音源単体では無指向性で大音圧を発生できても,容器の反射によりダンピングされたり,あるいは音源に指向性が付けられるようになっては好ましくない。 |
|
|
|
図1 補償用流体容器 |
|
||
|
ここでは,この容器による音波反射の検討を行う。容器は図1のような円筒容器が一般によく使われる。そこで円筒状の金属容器を取り上げることにし,容器内部に液体や空気を充填するモデルで反射の検討を行う。ところで容器等による反射解析モデルとして,よく球や回転楕円体や無限長円柱のモデルを用いた解析がなされている1)−3)。また近年Stanton4)は,簡単な近似的手法を用い円筒長さ/円筒外径の比の値が大きい有限長円柱について,円筒軸に垂直入射する音波によるターゲットストレングス(簡単に言えば,円筒容器への入射波に対する反射波の強さの割合に相当)を求め反射解析をしている。しかし,現実的な円筒容器に対し近距離でその傾きを変えた場合について反射解析をした例はあまり無いようである。 筆者は先に,弾性円筒殻の両端面に送波振動板を取り付けた音源の発生する音場解析を行った。円筒側面に透過する回折波,および円筒内部から発生する反射波を全て考慮した音場計算法(elastic mode analysis5)と呼ぶ)による解析である。実際にこの計算法で,製作した円筒音源が,水槽内で発生する音場を計算し実験値と比較したところ,極めて近い値の得られることが判った。そして音源寸法の最適検討へと発展させ,(1)円筒の外半径と肉厚を変えた場合6)と,(2)円筒筐体高さと肉厚を変えた場合7)の発生音圧の増減を予測した。 elastic mode analysis は,音源に限らず音波散乱体となる円筒殻の散乱解析にも応用できると思われる。そこで,このelastic mode analysisの円筒容器の散乱解析への適用を試みる。境界条件の与え方は音源単体の解析と同じであるが,音源の位置と散乱体から発生する散乱波の音源中心の位置がずれるため新たな散乱音場の定式化が必要となる。始めに近距離場で任意に置かれた有限長円筒による散乱音場を定式化する。そして定式化した散乱音場を用いて数値計算を行う。ここでは,円筒内媒質を水または空気とし,円筒容器肉厚を変えた場合のターゲットストレングス(単にTSと表記する)を求め円筒容器の反射を検討する。また付録に,Stantonによって提案されているTS計算式による結果とelastic mode analysisの計算結果を比較し検討する。 |
|
||
|
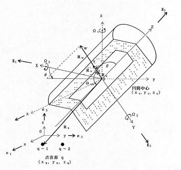
2.理論解析 2.1音場の定式化 本解析において,有限長円筒(以後単に円筒と呼ぶ)の変形は,低周波を対象とし弾性波のうち音波(粗密波)のみによる変形を取り扱う。音源は,円筒型で円筒型筐体の両端面に円板状ピストン振動板(送波面)を有するが,ここでは送波面の媒質排除速度と同一の媒質排除速度を持った点音源を送波面に置いて近似する。すなわち筐体を考えないで二点音源で音源を近似する。筐体が剛でその寸法が送波周波数の波長に比べて極めて小さいならば,この近似は妥当である8)。 図2に解析モデルとして無限の水中に置かれた点音源と内部に媒質を有する円筒を示す。直交絶対座標を図のように(x,y,z)で定義する。さらに(xc,yc,zc)に原点を移動し原点周りに回転した直交相対座標(X,Y,Z)を考える。この直交相対座標上に中心が(xc,yc,zc),中心軸がZ軸と一致するように円筒(音波散乱体としての円筒)を置く。この円筒は外半径a,高さhとする。ここで直交相対座標(X,Y,Z)は,最初X軸,Y軸,Z軸がそれぞれx軸,y軸,z軸と同一方向となるように選び,先ずZ軸をz軸周りにΩ1回転し,Y軸周りにΩ2回転し,X軸周りにΩ3回転して設定されるものとする。 更に円筒中心から水中任意の点wを結ぶベクトルをRWとし,円筒中心とwを結ぶ線分上で円筒壁部の任意の点vを結ぶベクトルをRV,円筒内媒質の任意の点を結ぶベクトルをRUとする。RW,RV,RUを相対極座標でそれぞれ(RW,θ,φ),(RV,θ,φ),(RU,θ,φ)と定義し,相対円柱座標で(rW,zW,φ),(rV,zV,φ),(rU,zU,φ)と定義する。また図のように点音源qの位置を(xq,yq,zq),(但しq=1,2)とする。原点とqを結ぶベクトルをRqとする。Rqを極座標系で(Rq,θq,φq),円柱座標系で(rq,zq,φq)と定義する。またRqとRWのなす角をΘqWとする。絶対座標のx方向,y方向,z方向の単位ベクトルをそれぞれe1,e2,e3,絶対座標のX方向,Y方向,Z方向の単位ベクトルを,それぞれE1,E2,E3と定義する。
|
|
||
|
|
|
||
|
図2 無限の水中の置かれた点音源と内部に媒質を有する円筒 |
|
||
|
点音源qから射出された媒質排除速度Qqの球面波が媒質中任意の点wに発生する速度ポテンシャルΦqは,
と表される。ただし,kは水の波数ω/C,(ω:角周波数,C:水の音速),ここでは時間の関数exp(jωt)を省略する。 |
|
||
|
又,式(1)は無限遠で放射条件を満足するので,極座標を用いた級数展開で,
のように表される9)。但し,jn,hn(2),Pnはn次のそれぞれ第一種球ベッセル関数,第二種球ハンケル関数,第一種ルジャンドル関数,R<:min(RW,Rq),R>:max(RW,Rq)である。式(2)中,Pn(cosΘqW)をルジャンドルの陪関数の加法定理10)を用いて,
但し,
なる関係式が得られる。 一方,散乱波が点wに発生する速度ポテンシャルをΦrとすると,無限遠で放射条件を満足するので級数展開で,
但し,
と示される。Anmqは境界条件から定まる未定定数である。円筒壁中の点vに発生する速度ポテンシャルをΦTとおく。 |
||
|
ΦTは,級数展開で
但し,
と示される。但し,nnはn次の第二種球ベッセル関数9),kTは筐体壁中の波数で音速cTと角周波数ωを用いてkT=ω/cTと示され,Bnmq,Cnmqは境界条件から定まる未定定数である。 更に音波が円筒壁を透過し円筒内部へ散乱して点uに発生する速度ポテンシャルをΦDとおく。ΦDは,円筒中心で有界となることから級数展開で,
但し,
と示される。Dnmqは境界条件から定まる未定定数,kDは円筒内媒質中の波数でkD=ω/cD,(cD:円筒内媒質の音速)である。
2.2 未定定数の決定 前節で定式化した水中への散乱波の未定定数は一般に簡単な球以外に厳密解が得られない。前報5)で適用したelastic mode analysisを用いる。 図3に円筒の領域分割を示す。領域1,3,4,6の円平面までの高さを図のように,それぞれh1,h3,h4,h6とし領域2,5の円筒面の半径を,それぞれa2,a5と定義する。
|
|
|
|
図3 弾性円筒の領域分割 (Y−Z面内断面図) |
|
未定定数Anmq,Bnmq, Cnmq, Dnmqは,以下の境界条件から決定される。領域1,領域2,領域3で,点音源からの射出波と円筒壁からの反射波の法線方向粒子速度の和が,円筒壁中への屈折波の粒子速度と等しいから,
ここで,nは領域表面の法線方向単位ベクトル,Sfは領域f,(f=1,2,3)の表面を指す位置ベクトル,n∇は領域表面の法線方向の微分係数を得る演算子で,
但し,nx,ny,nzは,単位ベクトルnのX,Y,Z方向成分である。 点音源からの射出波音圧をPq,散乱波音圧をPr,円筒壁中への屈折波音圧をPTとすると,領域1,2,3で,射出波の音圧と円筒からの散乱波の音圧の和が円筒壁中への屈折波の音圧と等しいから,
一方,領域4,5,6で,円筒内媒質の屈折波の法線方向粒子速度と円筒壁中の屈折波の法線方向粒子速度が等しいので,
円筒内媒質中への屈折波音圧をPDとすると,円筒内媒質の屈折波の音圧と円筒壁中の屈折波の音圧が等しいから,
となる。しかし,未定定数は一般に簡単な球以外,厳密に得られない。ここでは最小二乗法を用いて決定する。
2.3 最小二乗法の適用 式(8),(10),(11),(12)において,左辺から右辺を引いたものの絶対値を,それぞれε1,ε2,ε3,ε4とおくと,
ここで,ε1,ε2,ε3,ε4は零となるべきものであるが,式(4),(5),(6),(7)の級数が球座標の変数で与えられ,図3の領域1,2,..,6の境界面形状をこの球座標曲面と一致させることができないので誤差を持つ。そこでε1,ε2,ε3,ε4の全ての領域における二乗誤差の積分値Eが最小となるように未定定数Anmq,Bnmq,Cnmq,Dnmqを決定する。Eは
但し,積分記号添字は領域についての面積分,dsfは領域fにおける微小要素を示す。 さらに式(17)の積分に表れる定数項jωを積分からはずし絶対値の演算を複素表示し,新たに
|
|
を誤差と定義する。但し,*は複素共役を表す。式(4),(6),(8),(10)を式(18)に代入し,E’の値が未定定数An’m’q*,Bn’m’q*,Cn’m’q*,Dn’m’q*,の値に関わらず最小となるように∂E’/∂An’m’q*,∂E’/∂Bn’m’q*=0,∂E’/∂Cn’m’q*=0 ,∂E’/∂Dn’m’q*=0とおくと,An’m’q*,Bn’m’q*,Cn‘m’q*,Dn’m’q*に関するマトリクス方程式が得られる。但し,ここでは画面の都合上,定式化したマトリクス要素の表示を省略する。マトリクス方程式を解いて,Anmqを求め式(6)に代入すると水槽内に発生する散乱波速度ポテンシャルが求められ,式(4)の射出波と重ね合わせることにより合成波の速度ポテンシャルΦrが求められる。また絶対座標の任意の点w(xw,yw,zw)における二点音源による散乱波音圧Prは,
|
|
と得られる。但し,Nは打ち切り項数である。 ここに,
と得られる。
|
|
3.数値計算例及び検討 円筒内媒質を水の場合と空気の場合について,円筒肉厚をパラメータとして円筒のTSを求める。 音源から水中に送波された音波は,円筒表面(両端面も含む)に入射し,水と音響インピーダンスの異なる円筒表面から一部が反射される。一方で入射した音波は円筒壁へと屈折透過し,音響インピーダンスの異なる円筒内媒質から一部反射波が発生する。ここで円筒内媒質を伝播した波は更に円筒壁から反射を受ける。音源側には,このように反射された波の一部が伝播されることとなる。TSは,音源から出た波の強さに対する反射されて戻ってきた波の強さの比の対数値で与えられる。したがってTSが0dBの場合は完全反射の場合となる。TSが0dB以上の値を示す場合は,共振により円筒が新たな音源となる場合である。本数値計算においては,一例として音源を一個とし,音源と円筒の距離を円筒高さに比べ大きく選んだ。また,円筒外径に比べて円筒高さを大きく選んだ。表1に計算条件を示す。 |
||||
|
|
||||
|
円筒内媒質を水とし,円筒肉厚5mm,10mm,40mmとした場合のTSを図4に示す。横軸は無次元周波数(水の波数kと円筒外半径aの積)である。今,a=0.1m,c=1496m/sであるから,ka=2πfa/c=4.2×10―4f(ただしfは周波数)となる。これにより換算すると横軸のka=1.2は2.85KHzである。1KHz以下の低周波を設計上対象とするならば,ka<0.42の範囲であるが,ここではそれ以上の周波数にも触れてTSを検討することとした。図中,実線は本手法(elastic mode analysis)を用いた場合で円筒肉厚40mmの場合,長い破線は円筒肉厚10mmの場合,短い破線は円筒肉厚5mmの場合である。 |
||||
|
|
||||
|
図4 円筒内媒質を水とし,円筒肉厚を変えた場合のTS −−円筒肉厚:5mm ― ―円筒肉厚:10mm −円筒肉厚:40mm
|
||||
|
図から判るように,Kaが小さい領域(ka<0.3)では,ほぼ円筒肉厚によらないTSを示す。一方kaが大きくなると,肉厚の厚い方が少し高いTSを示す。これは,円筒壁厚み振動の発生する周波数に比べ,十分低い周波数に見られるもので質量則を用いて説明できる。これによると,円筒壁の透過損失([円筒殻内側の音圧PT/円筒殻の外側の入射音圧PI]の逆数のデシベル値で定義され,10log(PT/PI)−2で算出)は,単位面積辺りの円筒壁質量に依存し,厚い材料ほど大きくなることが知られている。透過損失が大であると, PT/PIの値が小であるから透過音圧が小さい。言い換えれば円筒表面で反射されやすい。したがってTSの値が大きくなる。しかし,肉厚5mmと40mmの円筒で,TSは少しの違いしか現れないようである。 また図中,kaが1.2付近で高いTSを示すのは,円筒高さ方向の共振の影響である。高さ方向の一次共振周波数11)は,円筒端面を塞ぐ円板質量を考えないとCT/(2h)=2.67KHzとなり,このときka=1.12となることから判断される。kaが1.2以下でもスプリアスなモードが発生するのでTSの値は大きくなるようである。 図5−1,図5−2,図5−3に,円筒内媒質を空気とし,それぞれ円筒肉厚を5mm,10mm,40mmと変えたときのTS(破線)を示す。なお比較のためそれぞれの図に円筒内媒質を水としたTS(実線)も書き加えた。
|
||||
|
|
|
|||
|
図5−1 円筒殻肉厚を5mmとしたTS −−円筒内媒質:空気 −円筒内媒質:水
|
図5−2 円筒殻肉厚を10mmとしたTS −−円筒内媒質:空気 −円筒内媒質:水 |
|||
|
|
これらの図から,円筒内媒質が水よりも空気の方が高いTSを示すことが判る。これは,空気の音響インピーダンス(=3.95×102kg/(m2s))が水や円筒壁媒質に比べて極端に小さいので,反射が大きくなるためである。円筒の外半径と高さを今固定しているから,円筒肉厚を厚くすることは円筒内空気の量を減らすことと同じである。このとき図5−3のように円筒内媒質が水の場合のTSに近い値を示すようである。しかし,kaが0.3以下の低周波では,空気の方が高いTSを示す。これは円筒内媒質が水の場合,低周波であると円筒殻の肉厚5mmでも40mmでもTSが低く出たことから説明できる。ka<0.3の領域は円筒壁の透過損失が小さく円筒内への音波透過量が増す領域で |
|||
|
図5−3 円筒殻肉厚を40mmとしたTS −−円筒内媒質:空気 −円筒内媒質:水 |
||||
|
あった。すると,音響インピーダンスの極端に小さい円筒内媒質の空気による反射波が圧倒的に占めることになる。図5―1,図5―2,図5―3を通してみると, この反射波は薄肉の円筒で空気の量が多いほど強く高いTSを示す。 これまでの結果から,円筒内媒質が水のとき,円筒壁肉厚を厚くしてもあまりTSが大きくならないことが判った。つまり反射はそれほど問題ない。一方,円筒内媒質が空気の場合,薄肉の円筒では,空気の反射が強くなることが判った。円筒内媒質が空気のときは空気容積を減らさない限り,反射を低減できないものと考える。 |
||||
|
4.まとめ 音源近傍に装備される円筒容器からの音波反射影響を調べるため基本検討として,先に構築した音源単体の音場解析手法elastic mode analysisを円筒容器に適用し散乱音場解析を行った。円筒容器の高さ方向の共振周波数以下では,円筒内部を水とした場合,低周波で厚肉でも容易に音波透過すること,円筒内の水からの反射が無くTSが低いこと,TSは円筒肉厚の変化によりあまり変化しないことが判った。円筒内媒質が水など液体であれば,反射の問題は無いと思われる。 しかし,円筒内部が空気などの気体の場合,空気から高い反射波が発生する。低周波で容器からの反射を減らすには,円筒肉厚を厚くするよりも内部の空気量を減らす方が効果的である。
付録 DCMの結果検討 参考として, Stantonによって提案されている簡易的な散乱解析手法によるTS(deformed cylinder solution method4),ここではDCMと呼ぶことにする)と本計算値の比較を示す。 DCMについては以下の適用条件がある。 1) 円筒長さ/円筒外半径の値が大きい場合,すなわち細長い場合を取り扱える。 2) 円筒の軸方向の境界条件は無限円筒の場合と同じとする。すなわち軸方向の音圧分布などが緩やかに変化し軸方向に直角に輪切りにしたそれぞれの微小部分は,隣同志で等しい動きをするものとする。 3) 入射波は,円筒軸に垂直かほぼ垂直に到来するものとする。 4) 有限長円筒の端面の影響を考えない。 5) 円筒において,軸方向変位と径方向変位は軸方向になだらかに変化するものとする。 6) 有限長円筒と音源間距離は,有限長円筒の長さに比べて十分大きい(フレネル領域の条件を満足)とする。
付図1,付図2に円筒内媒質水,円筒肉厚5mm,10mmについての本手法とDCMの比較を示す。図中,実線は本手法(presentと表示),破線はDCMの結果である。 |
||||
|
|
|
|||
|
付図1 本手法とDCMの比較 (円筒内媒質:水,肉厚5mm) |
付図2 本手法とDCMの比較 (円筒内媒質:水,肉厚10mm) |
|||
|
付図1,付図2から,kaが0.7以下において両者はほぼ合っている。一方DCMでは, 適用条件から円筒軸方向の共振が現れない。しかし,ka<0.7程度の低周波ではDCMが使えると思われる。 |
||||
|
付図3,付図4に円筒肉厚40mmの場合で,円筒内媒質を水とした場合と空気とした場合の本手法とDCMの比較を示す。 |
||||
|
|
|
|||
|
付図3 本手法とDCMの比較 (円筒内媒質:水,肉厚40mm) |
付図4 本手法とDCMの比較 (円筒内媒質:空気,肉厚40mm) |
|||
|
付図3,付図4から,円筒内媒質が水の場合,ka<0.7の範囲で本手法とDCMはよく合っているが,円筒内媒質が空気の場合相違があり,ka<0.2の範囲でDCMのTSはより低めに出る。またDCMでは,円筒内部が水でも空気でも同じ結果である。 StantonのTS計算法は簡単でもあり,条件さえ合えば使用できると思われるが,実際のところその条件を満足できるかどうか判断が難しい。このTS計算法について,PartridgeとSmith12)は,精度の検討を行っている。一方,Sommerfeld−Watson変換法を用いたTS計算法で,Ruemern13),14)はDCMとの比較をしている。これによると,円筒内媒質が空気のとき,DCMの結果より高いTSの得られることが示されている。 |
||||
|
文献 1) Robert Hickling,”Analysis of Echoes from a Solid Elastic Sphere in Water,” J.Acoust.Soc.Am.34(10),p1582-1592,(1962) 2) Tai-bao Li and Mitsushiro Ueda,”Sound scattering of spherical wave incident on a cylinder,”J.Acoust.Soc.Am.87,p1871-1879,(1990) 3) Tai-bao Li and Mitsushiro Ueda,”Analysis of echoes from a cylinder that includes the directivity of the transmitter and receiver,”J.Acoust.Soc.Am.87,p1880-1884,(1990) 4) T.K.Stanton,”Sound scattering by spherical and elongated shelled bodies,” J.acoust.Soc.Am.88(3).p1619-1633,(1990) 5)トピックス11,『円筒型低周波音源の指向性−水槽での実測値と計算値の比較』(’03.2.3) 6)トピックス13『円筒型低周波音源の送波音圧の検討-1(円筒外半径を変えた場合)』(’03.9.28) 7)トピックス14『円筒型低周波音源の送波音圧の検討-2(円筒筐体高さを変えた場合)』(’03.12.29) 8)早坂寿雄,吉川昭吉郎,音響振動論,(丸善(株),東京,1974),p501−503 9)森口繁一,ほか2名,数学公式V,特殊関数,(岩波書店,東京,1977),p218-220 10)文献9),p137 11)奥島基良,”チタバリ円筒殻を用いた水中相互校正用補助送受波器”,日本音響学会誌,第17号,第4巻,(1961) 12)Chris partridge and edgar R.Smith,”Acoustic scattering from bodies: Range of validity of the deformed Cylinder method,”J.Acoust.Soc.Am.,Vol.97(2),P784-795,(1995) 13) M.L.Ruemern,”Application of the Sommerfeld-Watson transformation to scattering of acoustic wave obliquely incident upon cylindrical shells,” J.Acoust Soc.Am .,Vol.91,p2502-2509,(1991) 14) M.L.Ruemern,”Increased Accuracy in the application of Sommerfeld-Watson transformation to acoustic scattering from cylindrical shells,”J.Acoust.Soc.Am,Vol.90,p2739-2751,(1990)
|
||||
|
|
|
|||
|
||||